За последние несколько лет стало появляться множество слухов о будущем автомобиле от компании Apple, который должен появится в 2024 году. Причиной этому послужили патенты на автомобильные функции, которые подавала компания, сообщает Business Insider.
Патенты могут давать представление о финальной версии электрокара, однако это вовсе не означает, что каждая из идей будет реализована. За последние несколько лет «яблочная» корпорация запатентовала шесть функций, которые могут появится в iCar — это название пока является условным, так как не было подтверждено компанией официально.
Так, iCar может быть оснащен лобовым стеклом, на который будут выводиться голограммы.
В описании этой системы дизайнерами компании сообщается, что изображения на стекле будут отображать такую информацию о транспортном средстве, как скорость, местоположение и направление движения, или показывать, какая песня играет по радио.
Кроме того, один из патентов предполагает, что электрокар может получить сенсорный интерфейс, который будет «спрятан» в дверях, сиденьях или других поверхностях транспортного средства.


Ожидается, что пассажир сможет взаимодействовать со своим окружением различными способами: нажимать, щипать и трогать. Дисплеи будут расположены под обивкой и получат возможность загораться при прикосновении.
Для тех, кто страдает от укачивания, в машине от Apple будет предусмотрена технология, решающая эту проблему.
Так, согласно патенту, iCar будет иметь систему виртуальной реальности, к которой будет подключаться гаджет пассажира, чтобы стабилизировать изображение.
«Система виртуальной реальности может позволить пассажирам работать во время поездки на транспортном средстве и не страдать от укачивания», — гласит патент.
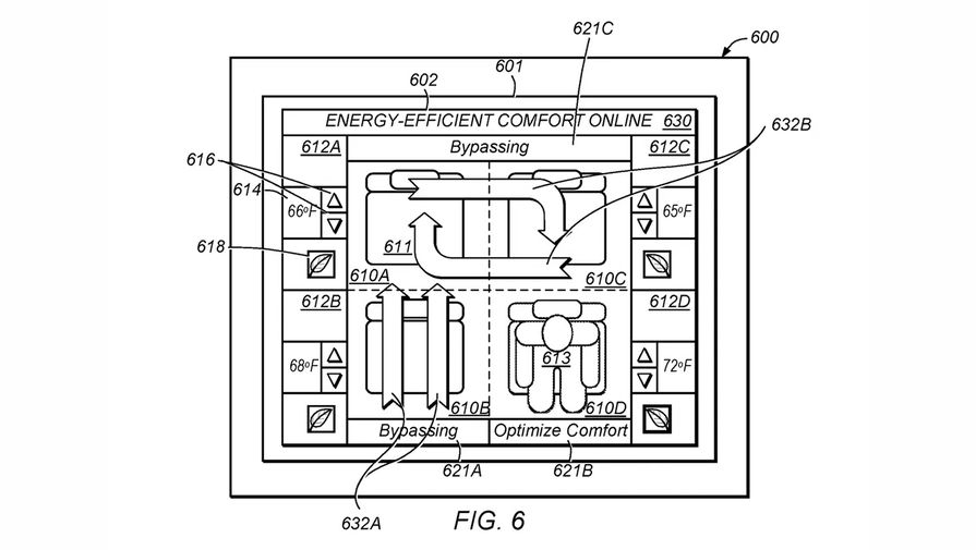
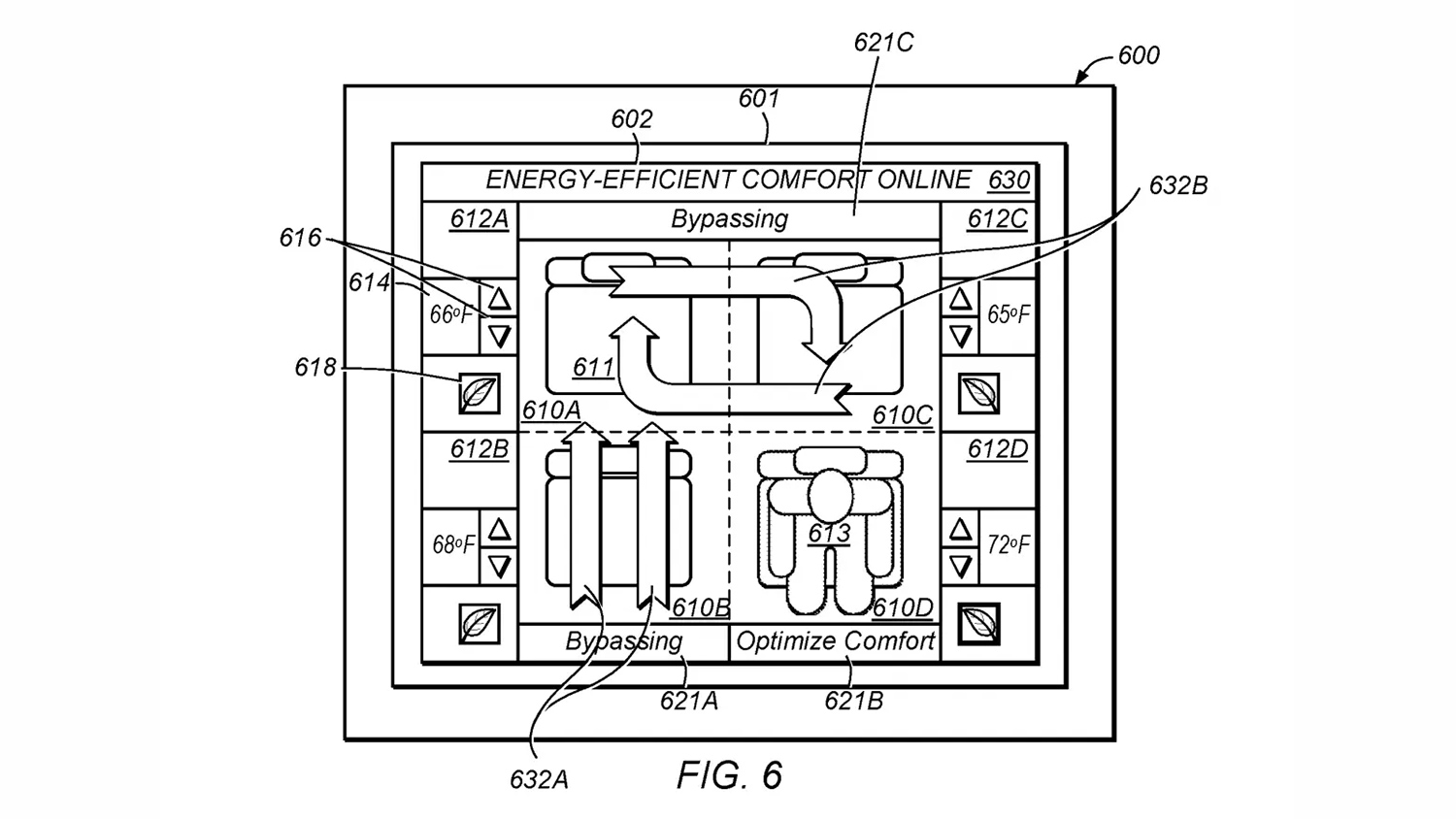
Инженеры Apple также работают над элементами контроля защитных стекол и системы умной тонировки. Кроме того, один из патентов описывает новую систему климат-контроля, которая предоставит водителю и пассажирам оптимальные комфортные температурные условия для широкого спектра ситуаций.
Система будет определять идеальный климат на основе «анализа температуры различных частей тела пассажиров».


На прошлой неделе стало известно, что Apple и Hyundai планировали подписать соглашение о выпуске первой «бета-версии» электрокара от купертиновцев в США в 2022 году. Однако некоторые эксперты посчитали, что компания может столкнуться с жесткой конкуренцией со стороны других производителей электромобилей.
Сейчас аналитики с Уолл-стрит говорят о том, что Apple имеет преимущества перед ними отчасти из-за того, что является популярным и влиятельным брендом.
Однако вопрос о том, будет ли компания полностью контролировать процесс создания автомобиля, остается открытым.
Аналитики финансового конгломерата Morgan Stanley отмечают, что кампания по созданию автомобиля будет наиболее успешной, если Apple будет иметь контроль над каждой ее частью: от создания концепта до поставок уже готового продукта. Впрочем, объемы участия Hyundai, а также любых других возможных партнеров Apple в процессе производства пока остаются неизвестными.