На сайте используются cookies. Продолжая использовать сайт, вы принимаете условия
Ok
1 Подписывайтесь на Газету.Ru в MAX Все ключевые события — в нашем канале. Подписывайтесь!
Все новости
Новые материалы +

Торпедо в «баранке». Самые необычные разработки автопрома

Почему автокомпании патентуют нереализуемые опции
Крупные автопроизводители и отдельные изобретатели часто патентуют нестандартные технические решения, которые пока не нашли применения в серийных автомобилях. «Газета» рассказывает о лазерных «дворниках», приборной панели в рулевом колесе, подушках безопасности для пешеходов и автомобильных писсуарах.

Компания Hyundai решила запатентовать в Германии необычное рулевое колесо – с встроенной в него виртуальной комбинацией приборов. При этом, по задумке авторов изобретения, вмонтированный в ступицу руля экран не помешает раскрытию подушки безопасности в случае аварии, пишет издание Carbuzz.

Подобное техническое решение может помочь побороть вечную проблему эргономики автомобилей, когда показания приборов могут перекрываться ободом рулевого колеса – однако водителю при наличии такой приборной панели придется переносить взгляд от дороги к приборам на большее расстояние. Впрочем, если машины в будущем получат большую степень автономности, эта проблема может стать намного менее актуальной.

Сейчас автокомпании стремятся сгладить проблему с перекрывающим приборы ободом руля более простыми методами – в частности, французская Peugeot на автомобилях современного модельного ряда устанавливает панель приборов выше, чем обычно, и применяет рули уменьшенного диаметра – при повсеместном внедрении усилителей рулевого управления диаметр «баранки» не влияет на легкость ее вращения.

Ранее корейский автоконцерн уже экспериментировал с необычными рулевыми колесами – в 2019 году Hyundai запатентовано рулевое колесо с небольшими сенсорными экранами вместо кнопок, отвечающих за вспомогательные функции. Однако до массового применения такой технологии дело пока не дошло – даже в случае с премиум-подразделением корейской марки Genesis.

Tesla очистит стекла лазером

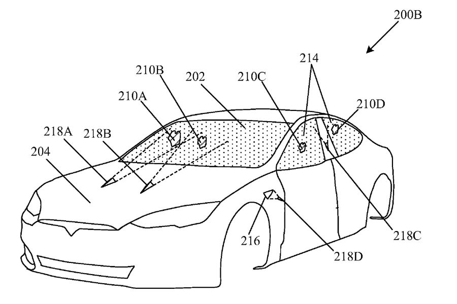
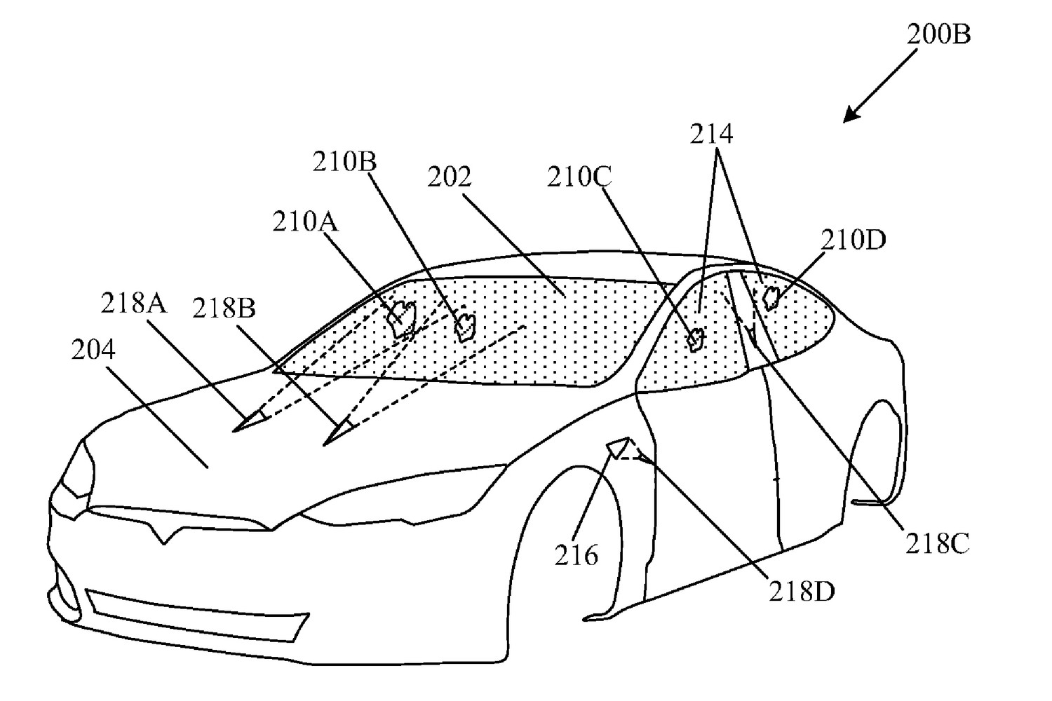
Американский производитель электромобилей Tesla запатентовал лазерное устройство, предназначенное для очистки пульсирующим световым лучом стекол автомобиля – несмотря на то, что более века с этой задачей успешно справляются стеклоочистители с резиновыми щетками.

Лазерные «дворники» от Tesla сканируют стекло на предмет скопившейся там воды и других загрязнений и удаляют их посредством калиброванного луча. При этом в патенте особо оговаривается, что уровень воздействия лазера на стеклянную поверхность регулируется системой управления, которая ограничивает мощность пульсирующего луча, чтобы он не проникал сквозь толщу стекла и не воздействовал на водителя.

Солнце, ветер и аэродинамика

Проблема подзарядки батарей электромобилей из возобновляемых источников энергии рассматривается и крупными автопроизводителями, и индивидуальными изобретателями.

Та же Tesla планирует оснащать крышку кузова своего пикапа Cybertruck солнечными панелями для подзарядки аккумуляторов – соответствующая патентная заявка размещена компанией Илона Маска летом этого года. Крышка пикапа с солнечной батареей может предлагаться для электрического пикапа в виде опции, следует из описания изобретения – солнечными элементами для генерации электроэнергии она может оснащаться лишь в одном из вариантов.

Для восполнения запасов электроэнергии отдельными изобретателями предлагаются и компактные ветровые установки – в одном из таких патентов описан компактный ветряк, предназначенный для монтажа на крыше автомобиля. Предполагается, что его лопасти можно изготавливать из легких материалов – пластика, алюминия или титана и при необходимости монтировать в несколько рядов.

Японская Toyota защитила патентом минимум до 2036 года конструкцию аэродинамического «хвоста» в задней части автомобиля, служащего для снижения аэродинамического сопротивления при движении и, в конечном итоге, экономии топлива. Телескопические секции хвоста конусообразной формы способны выдвигаться с набором скорости и бороться с завихрениями воздуха позади движущегося автомобиля.

Не выходя из машины

Изобретения, призванные решить насущные проблемы, порой бывают настолько курьезными, что не получают широкого распространения. Так, еще в 1998 году американцем Джерри Полом Паркером был запатентован портативный писсуар для водителей-дальнобойщиков. Устройство, призванное экономить время шоферов и повышать эффективность их работы, снабжено фильтром, препятствующим распространению неприятных запахов и резервуаром с поплавковым механизмом, сигнализирующим о его заполнении.

Подушка безопасности для пешеходов

Однако время от времени смелые мысли автомобильных инженеров все же получают серийное воплощение – особенно если это касается безопасности людей. Так, шведская Volvo, известная своими передовыми разработками в области предотвращения аварий и снижения тяжести их последствий, еще в 2012 году внедрила на модели V40 внешнюю подушку безопасности для предотвращения травм пешеходов при наезде. Необходимость установки дополнительной защиты в компании объяснили тем, что наиболее критичные повреждения люди получают при ударе о лобовое стекло автомобиля – внешняя подушка, «выстреливающая» из-под петель капота, призвана снизить тяжесть последствий при таких ДТП.

Что думаешь?
Загрузка
 
Что нужно знать о трудовом стаже, чтобы брали на работу и платили пенсию. Объясняем