Размер шрифта
Новости Спорт
Выйти
Война США и Израиля против ИранаВыборы в Венгрии — 2026
Автомобили

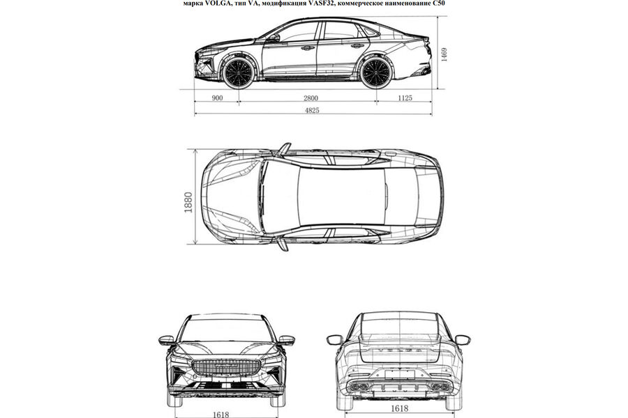
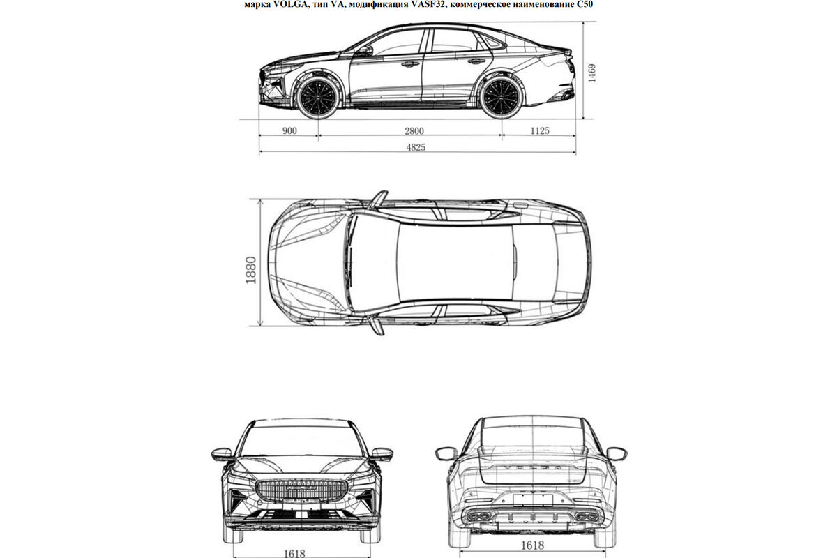
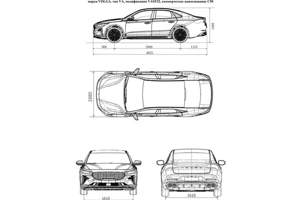
Первые автомобили Volga появятся в продаже в России в 2026 году

В России стартуют производство и продажи автомобилей Volga

В Нижнем Новгороде во II квартале 2026 года стартует производство автомобилей Volga. Об этом сообщила компания «Производство легковых автомобилей», реализующая проект.

«Портфолио бренда Volga будет представлено на старте тремя моделями в востребованных сегментах D-SUV, C-SUV и D-седан, которые будут производиться на заводе в Нижнем Новгороде, где ранее выпускались автомобили европейских марок Skoda и Volkswagen», — отмечается в сообщении.

Серийное производство машин начнется во втором квартале года, а продажи в салонах официальных дилеров — в третьем.

До этого первую модель возрожденного бренда Volga сняли на видео в России.

«Первой «Волгой» будет Geely Atlas. В Сети вирусится видео с новой моделью», — писал Telegram-канал No Limits.

Ранее стало известно, что «АвтоВАЗ» готовит рестайлинг Lada Niva Travel.

 
Возможный рост цен на интернет, неудавшийся теракт в Москве и тренажер для ЕГЭ. Главное за 14 апреля
На сайте используются cookies. Продолжая использовать сайт, вы принимаете условия
Ok
1 Подписывайтесь на Газету.Ru в MAX Все ключевые события — в нашем канале. Подписывайтесь!