Размер шрифта
Новости Спорт
Выйти
Операция США в Венесуэле и захват МадуроПротесты в Иране — 2026Переговоры о мире на Украине

В России разработали новый тип химического реактора

ПНИПУ: создан реактор для производства синтез-газа на 30% эффективнее аналогов

Ученые Пермского национального исследовательского политехнического университета (ПНИПУ) сконструировали новый реактор для получения синтез-газа — ключевого компонента химической промышленности. Изобретение может увеличить производительность процесса на 30%, сообщили «Газете.Ru» в пресс-службе научного учреждения.

Синтез-газ, представляющий собой смесь водорода и оксида углерода, широко используется для производства топлива, пластмасс, удобрений, лекарств и других важных продуктов.

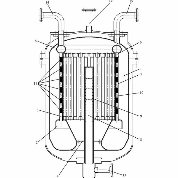
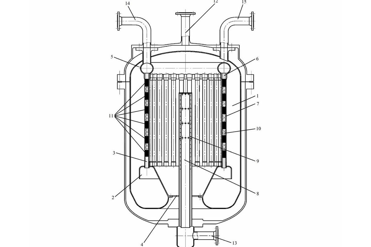
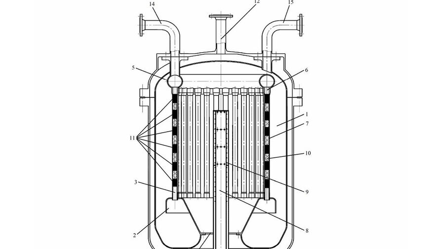
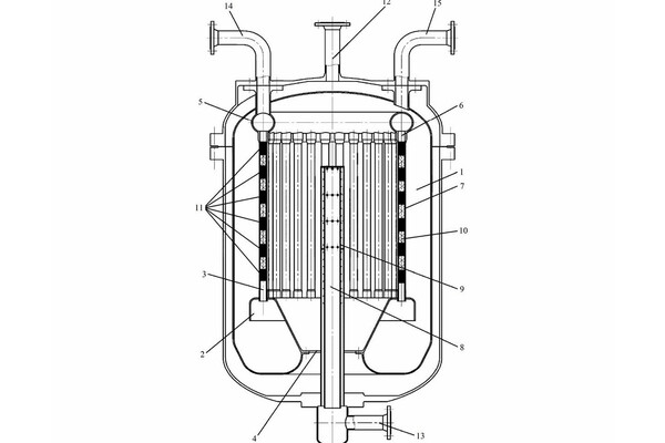
Традиционные реакторы имеют существенный недостаток — неравномерный нагрев катализатора внутри трубок, что снижает эффективность процесса.

Новая конструкция решает эту проблему за счет чередования слоев катализатора и металлических сферических частиц, которые обеспечивают равномерное распределение тепла. Реактор состоит из 30 трубок увеличенного диаметра, заполненных никель-керамическим катализатором и металлическими шариками, а также центральной нагревательной трубы.

Как пояснил главный инженер проектов ПНИПУ Николай Кондрашов, при подаче углеводородного сырья (например, метана) через реакционные каналы происходит его преобразование в синтез-газ с высокой эффективностью.

Испытания на одном из предприятий атомной отрасли подтвердили увеличение производительности.

Ранее в России превратили вредные отходы угольной добычи в безопасные и прочные кирпичи.

{
    "_essence": "video",
    "media_position": "bottom",
    "uid": "_id_video_media_26045432_rnd_4",
    "video_id": "record::d0abd047-2d15-4dae-878c-85bdb1923efa"
}

 
«Смыть грехи» не выйдет. Почему купание в проруби — бесполезное и опасное занятие